Plokščias kampas su priešgaisriniu įdėklu PLM FA 1220 FS - OBO BETTERMANN (pavadinimas tikslinamas)
Produkto informacija
- Serija PYROLINE® Rapid
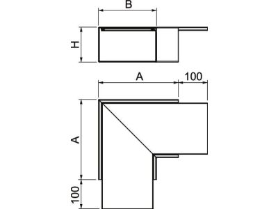
- Kampas 90 °
- Išorinis plotis 275 mm
- Vidinis aukštis 120 mm
- Vidinis plotis 200 mm
- Liepsnai atsparių šonų skaičius 4
- Apdangalas Plienas
- Paviršiaus apsauga Cinkuotas
- Su apačios perforavimu Taip
Dokumentai
Visi vaizdai













